Crankshaft and Related Parts: B
|
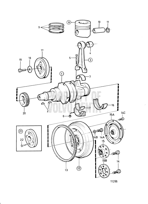
1. |
Crankshaft (876251)
Price: $99,999.00SUGGESTED QTY:1
Obsolete part
VIEW DETAILS
|
|
|
3. |
Connecting rod (860073)
Price: $99,999.00SUGGESTED QTY:1
(840706), Obsol...
VIEW DETAILS
|
|
|
4. |
Bushing (840703)
Price: $99,999.00SUGGESTED QTY:1
Obsolete part
VIEW DETAILS
|
|
|
5. |
Screw (840704)
Price: $99,999.00SUGGESTED QTY:2
Obsolete part
VIEW DETAILS
|
|
|
7. |
Big-end bearing kit (875749)
Price: $99,999.00SUGGESTED QTY:1
Obsolete part, ...
VIEW DETAILS
|
|
|
8. |
Piston kit (876249)
Price: $99,999.00SUGGESTED QTY:1
Obsolete part, ...
VIEW DETAILS
|
|
|
12. |
Flywheel (861047)
Price: $99,999.00SUGGESTED QTY:1
VIEW DETAILS
|
|
|
12. |
Flywheel (861047)
Price: $99,999.00SUGGESTED QTY:1
Repl by 861047
VIEW DETAILS
|
|
|
13. |
Gear ring (6842185)
Price: $4.60SUGGESTED QTY:1
VIEW DETAILS
|
|
|
14. |
Hexagon screw (975101)
Price: $4.80SUGGESTED QTY:8
L=40mm (963245)...
VIEW DETAILS
|
|
|
14A. |
Hexagon screw (970877)
Price: $99,999.00SUGGESTED QTY:8
Obsolete part, ...
VIEW DETAILS
|
|
|
14B. |
Washer (949523)
Price: $0.60SUGGESTED QTY:8
SN2300059128-
VIEW DETAILS
|
|
|
15. |
Companion flange (22562311)
Price: $817.00SUGGESTED QTY:1
Superseded by m...
VIEW DETAILS
|
|
|
16. |
Main bearing kit (875752)
Price: $99,999.00SUGGESTED QTY:1
Obsolete part, ...
VIEW DETAILS
|
|
|
16. |
Main bearing kit (875754)
Price: $99,999.00SUGGESTED QTY:1
Obsolete part, ...
VIEW DETAILS
|
|
|
18. |
Washer (190763)
Price: $99,999.00SUGGESTED QTY:1
Obsolete part
VIEW DETAILS
|
|
|
20. |
Gear (840350)
Price: $99,999.00SUGGESTED QTY:1
Obsolete part
VIEW DETAILS
|
|
|
21. |
Pulley, extra (840777)
Price: $99,999.00SUGGESTED QTY:1
Obsolete part
VIEW DETAILS
|
18 Items