Crankshaft and Related Parts Medium Duty. PRM -Connection
|
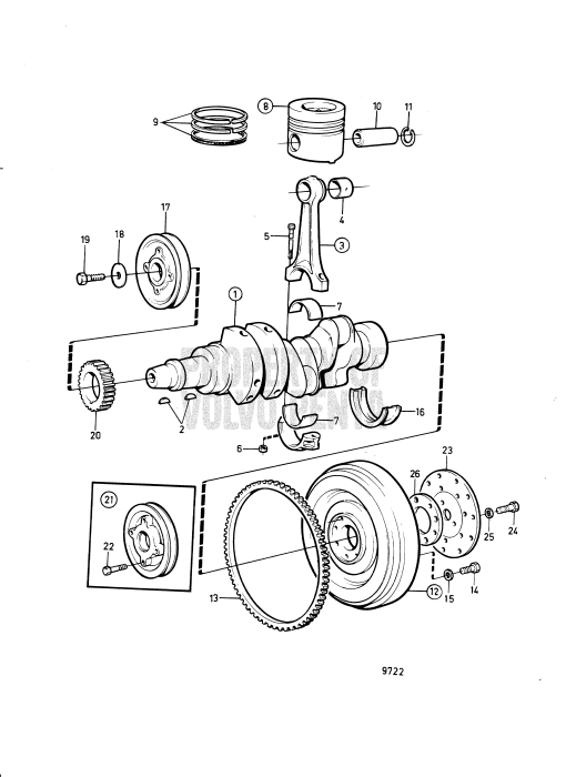
1. |
Crankshaft (876252)
Price: $99,999.00SUGGESTED QTY:1
Obsolete part
VIEW DETAILS
|
|
|
3. |
Connecting rod (860073)
Price: $99,999.00SUGGESTED QTY:1
(840706), Obsol...
VIEW DETAILS
|
|
|
4. |
Bushing (840703)
Price: $99,999.00SUGGESTED QTY:1
Obsolete part
VIEW DETAILS
|
|
|
5. |
Screw (840704)
Price: $99,999.00SUGGESTED QTY:2
Obsolete part
VIEW DETAILS
|
|
|
7. |
Big-end bearing kit (875749)
Price: $99,999.00SUGGESTED QTY:1
Obsolete part, ...
VIEW DETAILS
|
|
|
8. |
Piston kit (876117)
Price: $727.36SUGGESTED QTY:2
Medium duty., S...
VIEW DETAILS
|
|
|
8. |
Piston kit (876119)
Price: $99,999.00SUGGESTED QTY:2
Obsolete part, ...
VIEW DETAILS
|
|
|
12. |
Flywheel (858417)
Price: $99,999.00SUGGESTED QTY:1
Obsolete part, ...
VIEW DETAILS
|
|
|
12. |
Flywheel (858912)
Price: $99,999.00SUGGESTED QTY:1
Obsolete part
VIEW DETAILS
|
|
|
13. |
Gear ring (6842185)
Price: $4.60SUGGESTED QTY:1
VIEW DETAILS
|
|
|
14. |
Hexagon screw (975101)
Price: $4.80SUGGESTED QTY:8
L=40mm (963245)...
VIEW DETAILS
|
|
|
15. |
Spring washer (941908)
Price: $0.40SUGGESTED QTY:10
VIEW DETAILS
|
|
|
16. |
Main bearing kit (875755)
Price: $99,999.00SUGGESTED QTY:1
Obsolete part, ...
VIEW DETAILS
|
|
|
18. |
Washer (190763)
Price: $99,999.00SUGGESTED QTY:1
Obsolete part
VIEW DETAILS
|
|
|
20. |
Gear (840350)
Price: $99,999.00SUGGESTED QTY:1
Obsolete part
VIEW DETAILS
|
|
|
21. |
Pulley, extra (840777)
Price: $99,999.00SUGGESTED QTY:1
Obsolete part
VIEW DETAILS
|
|
|
23. |
Absorber (858778)
Price: $99,999.00SUGGESTED QTY:1
Obsolete part
VIEW DETAILS
|
|
|
25. |
Spring washer (941907)
Price: $0.70SUGGESTED QTY:4
VIEW DETAILS
|
|
|
26. |
Spacer plate (858801)
Price: $99,999.00SUGGESTED QTY:1
Obsolete part
VIEW DETAILS
|
19 Items