Intermediate Housing. SN-3194012077
|
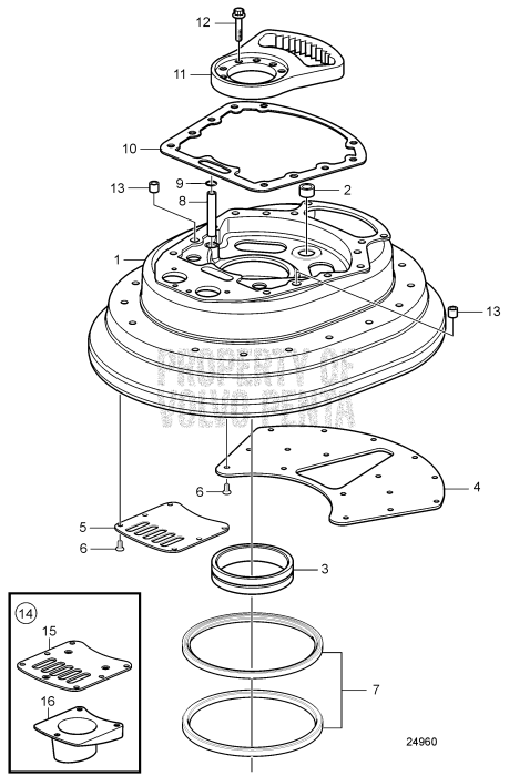
1. |
Intermediate housing (21551974)
Price: $17,300.00SUGGESTED QTY:1
VIEW DETAILS
|
|
|
4. |
Plate (888659)
Price: $0.00SUGGESTED QTY:1
VIEW DETAILS
|
|
|
5. |
Plate (23366374)
Price: $422.00SUGGESTED QTY:1
VIEW DETAILS
|
|
|
10. |
Gasket (23129533)
Price: $69.50SUGGESTED QTY:1
VIEW DETAILS
|
|
|
11. |
Gear segment (21914715)
Price: $2,067.00SUGGESTED QTY:1
VIEW DETAILS
|
5 Items